据Nintendolife报道,任天堂Switch Online试玩计划近日又公开了一项新专利,描述了一种系统:玩家可以通过“在虚拟空间中走动来直观地选择多个物体”。
据专注任天堂专利的博主Nintendo Patents Watch介绍,这项专利最初于去年4月在日本提交,并于2025年4月在美国提交,最新的专利于本周在美国公开。
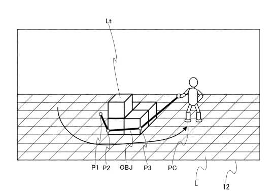
专利官方摘要这样介绍道:“根据第一操作输入,使玩家角色在三维虚拟空间中移动。在三维虚拟空间中,生成一个第一对象,它将根据第二操作输入设定的位置处的参考点与玩家角色连接起来。第一对象的形状会随着玩家角色的移动而发生改变。当第二对象被该第一对象在三维虚拟空间中包围时,该第二对象将被指定为进一步的游戏处理对象。”
Nintendo Patents Watch还提到,任天堂社长古川俊太郎今年早些时候曾表示,这个试玩计划“与任天堂Switch Online 服务的一项新功能相关”。古川表示:“我们计划在未来的任天堂Switch Online服务中利用这一计划所获得的成果和经验,但目前尚无计划公布任何具体细节。”
配资一流证券配资门户提示:文章来自网络,不代表本站观点。